{{ v.name }}
{{ v.cls }}类
{{ v.price }} ¥{{ v.price }}
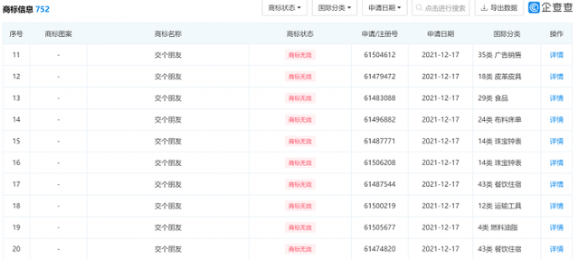
近日北京交个朋友数码科技有限公司与国家知识产权局一审文书公开,诉争商标“交个朋友”因缺乏商标注册应有的显著特征,被北京知识产权法院驳回了诉讼请求。



值得一提的是,北京交个朋友数码科技有限公司是罗永浩关联公司,该公司申请了400余个“交个朋友”商标,目前商标状态分别为“等待实质审查”“商标无效”和“驳回复审中”,尚无商标注册成功。
互联网江湖上一直流传着老罗的传说。为了努力赚钱还债,罗永浩开始了直播带货生涯,直播间取名为“交个朋友”,并成立北京交个朋友数码科技有限公司。
近日,小编了解到有多件“交个朋友”商标被驳回、无效。

商标局审查认为,申请商标“交个朋友”使用在指定商品上,直接表示了商品的功能用途等特点,不具有区分商品来源的作用,缺乏显著性,已构成《商标法》第十一条第一款第(二)项所指情形。申请人提供的证据尚不足以证明申请商标在指定商品上经使用已取得显著性。
最终,商标局对“交个朋友”商标的注册申请予以驳回。
那么,什么是“商标的显著性”?,又如何判定商标是否具有显著性?
“商标的显著性”是指商标所具有的标示企业商品或服务出处并使之区别于其他企业之商品或服务的属性。
《商标法》第十一条规定,下列标志不得作为商标注册:
①仅有本商品的通用名称、图形、型号的;
②仅直接表示商品的质量、主要原料、功能、用途、重量、数量及其他特点的;
③其他缺乏显著特征的。
前款所列标志经过使用取得显著特征,并便于识别的,可以作为商标注册。
凡是满足上述条件的标志都是缺乏显著性的,都无法注册为商标。
判定商标具备显著性的方法
判定商标具有固有显著性,主要是看构成商标的文字、图形等要素是臆造的、任意的、暗示性的还是纯描述的
如何让商标具有显著性?
1、给商标起名时,避开通用词汇。如:眼镜行,超市等这些都属于行业通用词汇。
2、给商标起名时,可以自己独创一个词语,这样既不担心名字会和他人相同或者近似,也能增加商标的显著性。
